Product Summary
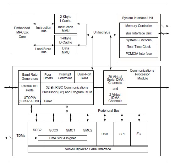
The XPC850DSLCZT50BU is a versatile, one-chip integrated microprocessor and peripheral combination that can be used in a variety of controller applications, excelling particularly in communications and networking products. The XPC850DSLCZT50BU, which includes support for Ethernet, is specifically designed for cost-sensitive, remote-access, and telecommunications applications. It is provides functions similar to the MPC860, with system enhancements such as universal serial bus (USB) support and a larger (8-Kbyte) dual-port RAM. In addition to a high-performance embedded MPC8xx core, the XPC850DSLCZT50BU integrates system functions, such as a versatile memory controller and a communications processor module (CPM) that incorporates a specialized, independent RISC communications processor (referred to as the CP). This separate processor off-loads peripheral tasks from the embedded MPC8xx core.
Parametrics
XPC850DSLCZT50BU absolute maximum ratings: (1)Supply voltage, VDDH: -0.3 to 4.0 V; (2)Supply voltage, VDDL: -0.3 to 4.0 V; (3)Supply voltage, KAPWR: -0.3 to 4.0 V; (4)Supply voltage, VDDSYN: -0.3 to 4.0 V; (5)Junction temperature, Tj: 0 to 95℃ (standard); -40 to 95℃ (extended); (6)Storage temperature range, Tstg: -55 to +150℃.
Features
XPC850DSLCZT50BU features: (1)Advanced on-chip emulation debug mode; (2)Data bus dynamic bus sizing for 8, 16, and 32-bit buses; (3)Completely static design; (4)System integration unit (SIU); (5)Single socket PCMCIA-ATA interface; (6)Communications processor module (CPM); (7)Four independent baud-rate generators (BRGs); (8)One universal serial bus controller (USB); (9)Two serial management controllers (SMCs).
Diagrams

| Image | Part No | Mfg | Description | ![]() |
Pricing (USD) |
Quantity | ||||||
|---|---|---|---|---|---|---|---|---|---|---|---|---|
![]() |
![]() XPC850DSLCZT50BU |
![]() |
![]() IC MPU POWERQUICC 50MHZ 256-PBGA |
![]() Data Sheet |
![]() Negotiable |
|
||||||
| Image | Part No | Mfg | Description | ![]() |
Pricing (USD) |
Quantity | ||||||
![]() |
![]() XPC823CVR66B2T |
![]() |
![]() IC MPU POWERQUICC 66MHZ 256-PBGA |
![]() Data Sheet |
![]() Negotiable |
|
||||||
![]() |
![]() XPC823CZT66B2T |
![]() |
![]() IC MPU POWERQUICC 66MHZ 256-PBGA |
![]() Data Sheet |
![]() Negotiable |
|
||||||
![]() |
![]() XPC823ECVR66B2 |
![]() Freescale Semiconductor |
![]() Microprocessors (MPU) 823E PB-FREE |
![]() Data Sheet |
![]() Negotiable |
|
||||||
![]() |
![]() XPC823EVR66B2 |
![]() Freescale Semiconductor |
![]() Microprocessors (MPU) PB-FREE 823E 66MHZ |
![]() Data Sheet |
![]() Negotiable |
|
||||||
![]() |
![]() XPC823EVR75B2 |
![]() Freescale Semiconductor |
![]() Microprocessors (MPU) PB-FREE 823E 75MHZ |
![]() Data Sheet |
![]() Negotiable |
|
||||||
![]() |
![]() XPC823VR66B2T |
![]() |
![]() IC MPU POWERQUICC 66MHZ 256-PBGA |
![]() Data Sheet |
![]()
|
|
||||||
(China (Mainland))










